Door & Hinges
Adjustment Procedures

Step-by-step sliding door and rear cargo door adjustment guide for 2002–2006 T1N Sprinter vans with torque specs and diagrams.

0.28"
Sliding Door Gap

±0.02 in tolerance

0.31"
Rear Door Gap

Top gap: 0.51" ±0.02"

18.4
ft·lbs (Roller/Hinge)

Main fastener torque

7.4
ft·lbs (Stabilizer)

Stabilizer receiver torque

When Do Doors Need Adjustment?

Sliding Door Symptoms

  • Door is hard to open or close
  • Visible gap unevenness along B or C pillar
  • Door doesn't latch securely
  • Wind noise or water leaks at the seal
  • Door "jumps" or binds in the track

Rear Door Symptoms

  • Door doesn't close flush with body
  • Uneven perimeter gap (too tight or too wide)
  • Difficulty latching one or both doors
  • Hinge sag causing the door to drop
  • Seal compression is uneven

Tools You'll Need

  • Torque wrench (calibrated)
  • Socket set (10mm, 13mm, T40 Torx)
  • Feeler gauge or ruler for gap measurement
  • White lithium grease for rollers/track
  • Touch-up paint and primer

Sliding Door Adjustment

Target gap: 0.28" ±0.02" (7 mm ±0.5). Door surface must be flush with B and C pillars.

1

Check door gap (0.28" ±0.02")

Measure the gap between the sliding door and body at multiple points along the B and C pillars. The gap should be uniform.

Figure 1 – Sliding Door Gap
Figure 1 – Sliding Door Gap
2

Verify ridge flushness at B and C pillars

The door surface must be flush with the adjacent body panels. Check both top and bottom edges.

Figure 2 – Ridge Pattern
Figure 2 – Ridge Pattern
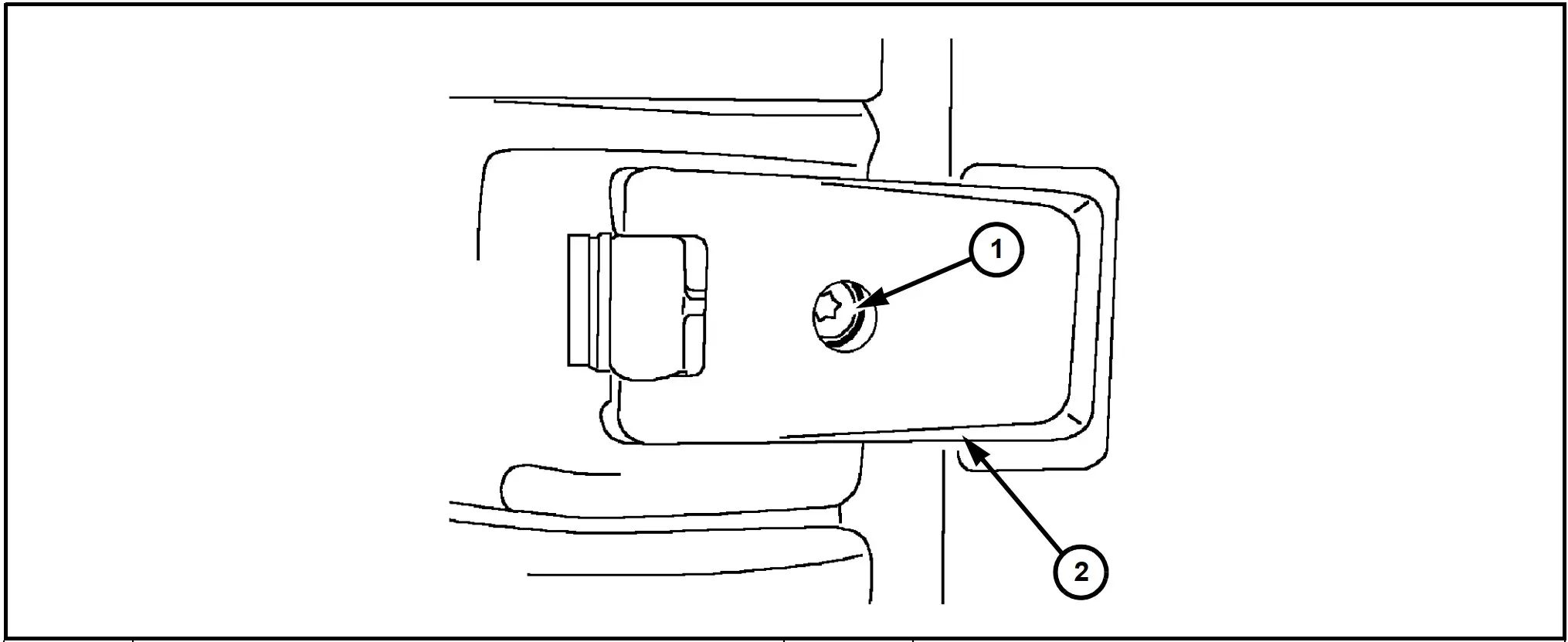
3

Tighten stabilizer receiver to 7.4 ft·lbs

The stabilizer prevents door rattle and controls the closing action. Torque carefully to avoid stripping.

Figure 3 – Stabilizer Receiver
Figure 3 – Stabilizer Receiver
4

Loosen closing wedge bolts for adjustment

Loosen the closing wedge mounting bolts to allow the door to be repositioned. Do not remove completely.

Figure 4 – Closing Wedge
Figure 4 – Closing Wedge
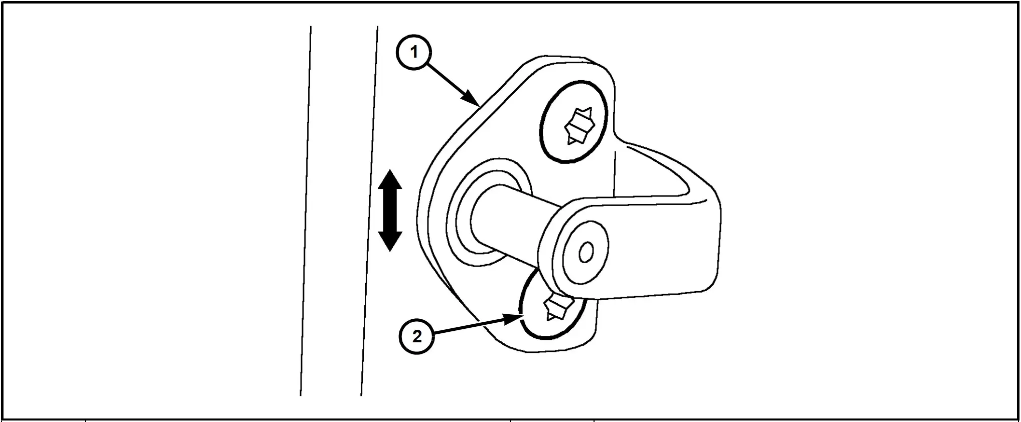
5

Adjust rear ridge via center roller arm

The center roller arm controls the rear edge alignment. Adjust in small increments and re-check the gap.

Figure 5 – Rear Ridge Adjustment
Figure 5 – Rear Ridge Adjustment
6

Adjust front ridge via upper/lower rollers

Upper and lower rollers control the front edge. Adjust both to maintain parallel alignment.

Figure 6 – Front Ridge Adjustment
Figure 6 – Front Ridge Adjustment
7

Tighten roller arm bolts to 18.4 ft·lbs

Once alignment is correct, torque all roller arm fasteners to spec. Recheck gap after tightening.

8

Adjust striker vertically, tighten to 18.4 ft·lbs

The striker controls how securely the door latches. Adjust vertically for proper engagement.

Figure 8 – Latch Striker
Figure 8 – Latch Striker

Rear Cargo Door Adjustment

Perimeter gap: 0.31" ±0.02" (8 mm ±0.5). Top gap: 0.51" ±0.02" (13 mm ±0.5).

1

Check perimeter gap (0.31" ±0.02"; top 0.51" ±0.02")

Measure the gap around the entire door perimeter. The top gap is intentionally wider to account for seal compression.

Figure 1 – Rear Door Gap
Figure 1 – Rear Door Gap
2

Loosen hinge head bolts

Loosen the hex head bolts on the hinge mounting plate. Support the door to prevent it from dropping.

Figure 2 – Hinge Bolts
Figure 2 – Hinge Bolts
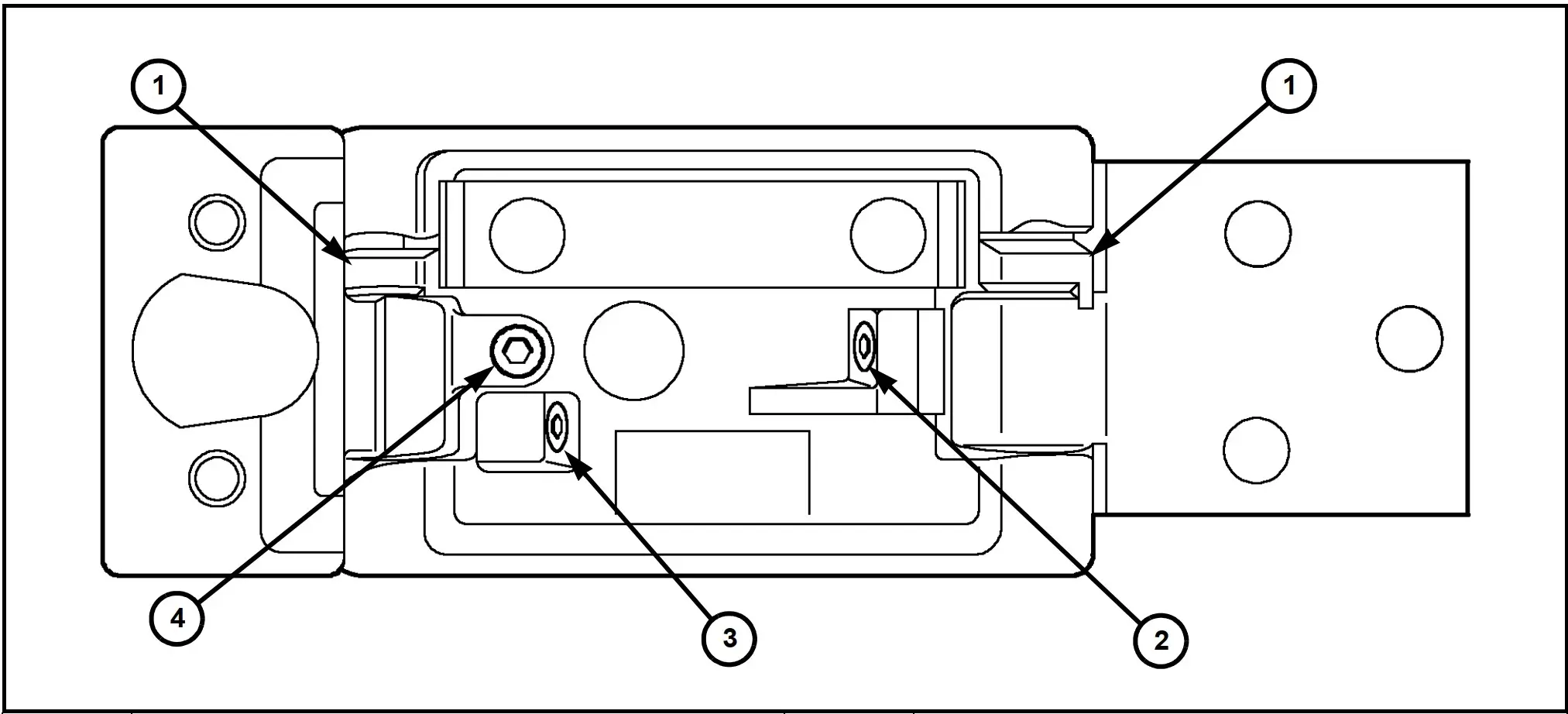
3

Adjust via socket-head bolt, tighten to 18.4 ft·lbs

Use the Torx socket-head bolt to fine-tune the door position. This controls in/out and up/down movement.

Figure 3 – Socket-Head Bolt
Figure 3 – Socket-Head Bolt
4

Align door edges with closing wedges

The closing wedges at the bottom guide the door into the correct position as it closes. Adjust for flush fit.

Figure 4 – Closing Wedges
Figure 4 – Closing Wedges
5

Adjust striker flushness horizontally

Move the striker horizontally so the door latches flush with the body. Test by closing the door firmly.

Figure 5 – Striker Adjustment
Figure 5 – Striker Adjustment

Door Maintenance Tips

Lubricate Regularly

Apply white lithium grease to the sliding door track, rollers, and striker every 6 months. Avoid WD-40, as it attracts dirt. Silicone spray works well for rubber door seals.

Inspect Rollers & Track

Check the upper, center, and lower rollers for flat spots or wear. Clean debris from the track. Worn rollers cause binding and uneven gaps that adjustment alone can't fix.

Check Door Seals

Inspect rubber seals for cracks, compression set, or detachment. Damaged seals cause wind noise and water leaks even with perfect gap alignment. Replace if deteriorated.

Winter Care

In cold/salt regions, rinse the track and lower rollers regularly to prevent corrosion. Apply corrosion inhibitor to hinge pivot points and exposed metal after adjustment.

Frequently Asked Questions

The target gap is 7 mm ±0.5 mm (0.28" ±0.02"). The door surface should be flush with the B and C pillars. A slight taper is acceptable for visual uniformity, but the gap should be consistent along the full height of the door.

The perimeter gap (sides and bottom) should be 8 mm ±0.5 mm (0.31" ±0.02"). The top gap is wider at 13 mm ±0.5 mm (0.51" ±0.02") to account for seal compression and hinge geometry.

Stabilizer receiver: 10 N·m (7.4 ft·lbs). Roller arm bolts and hinge bolts: 25 N·m (18.4 ft·lbs). Always use a calibrated torque wrench. Overtightening can crack the mounting plate or strip threads.

Common causes: misaligned rollers, worn center/lower roller arms, bent track, corroded stabilizer, or misadjusted striker. Follow the 8-step procedure above. Also check for debris in the track and lubricate rollers with white lithium grease.

Touch up exposed bare metal on hinge contact areas with primer and matching paint. Apply wax or corrosion inhibitor to hinge pivots. In salt-belt regions, rinse the track and lower rollers regularly and reapply protection seasonally.

Still Having Door Issues?

Share photos and get advice from experienced T1N owners in the community.

Ask the Community